
MIL-PRF-19500/392J
NOTES:
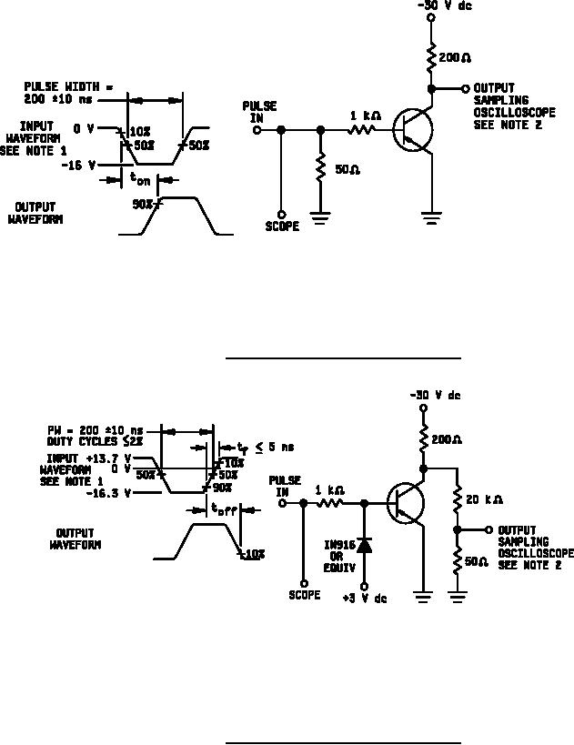
1. The rise time (tr) and fall time (tf) of the applied pulse shall be ≤ 2.0 ns; duty cycle ≤ 2 percent; generator
source impedance shall be 50 ohms.
2. Output sampling oscilloscope: Zin ≥ 100 kΩ; Cin ≤ RPF; rise time ≤ 0.2 ns.
FIGURE 6. Saturated turn-on switching time test circuit.
NOTES:
1. The rise time (tr) and fall time (tf) of the applied pulse shall be ≤ 2.0 ns; duty cycle ≤ 2 percent; generator
source impedance shall be 50 ohms.
2. Output sampling oscilloscope: Zin ≥ 100 kΩ; Cin ≤ RPF; rise time ≤ 0.2 ns.
FIGURE 7. Saturated turn-off switching time test circuit.
17
For Parts Inquires call Parts Hangar, Inc (727) 493-0744
© Copyright 2015 Integrated Publishing, Inc.
A Service Disabled Veteran Owned Small Business