
MIL-PRF-19500/485N
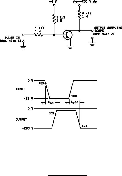
NOTES:
1. The rise time (tr) and fall time (tf) of applied pulse shall be each < 20 ns; duty cycle < 2 percent; generator
source impedance shall be 50 Ω; pulse width = 20 µs.
2. Output sampling oscilloscope: Zin > 100 kΩ; Cin < 50 pF; rise time < 2 ns.
FIGURE 9. Pulse response test circuit.
22
For Parts Inquires call Parts Hangar, Inc (727) 493-0744
© Copyright 2015 Integrated Publishing, Inc.
A Service Disabled Veteran Owned Small Business