
MIL-PRF-19500/503H
NOTES:
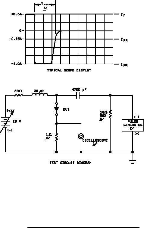
1. Rise time ≤ 350 ps, input impedance 50 ohms, circuit impedance 50 ohms coaxial.
2. Rise time ≤ 250 ps, source impedance = 8 ohms maximum, PRF ≈ 0 .5 kHz , P W ≥ 40 ns.
3. Recovery conditions: 0.5 A forward current to 1.0 A reverse current. Recovery time measured
when rectifier recovers to 0.25 A.
4. Constructed from 10 through 10 ohm resistors 1/8 watt.
5. Constructed from 10 through 100 ohm resistors 1/8 watt.
FIGURE 6. Reverse recovery time test circuit and characteristic waveform.
16
For Parts Inquires call Parts Hangar, Inc (727) 493-0744
© Copyright 2015 Integrated Publishing, Inc.
A Service Disabled Veteran Owned Small Business