
The documentation and process conversion
INCH-POUND
measures necessary to comply with this revision
MIL-PRF-19500/168K
shall be completed by 15 November 2011.
15 August 2011
SUPERSEDING
MIL-PRF-19500/168J
13 June 2007
PERFORMANCE SPECIFICATION SHEET
SEMICONDUCTOR DEVICE, THYRISTORS (CONTROLLED RECTIFIERS), SILICON, TYPES
2N1771A, 2N1772A, 2N1774A, 2N1776A, 2N1777A, 2N1778A, AND 2N2619A, JAN, JANTX, AND JANTXV
This specification is approved for use by all Departments
and Agencies of the Department of Defense.
The requirements for acquiring the product described herein shall consist of
this specification sheet and MIL-PRF-19500.
1. SCOPE
1.1 Scope. This specification covers the performance requirements for PNPN, silicon power, reverse-blocking
triode thyristors. Three levels of product assurance are provided for each device type as specified in
1.2 Physical dimensions. See figure 1 (similar to TO-64).
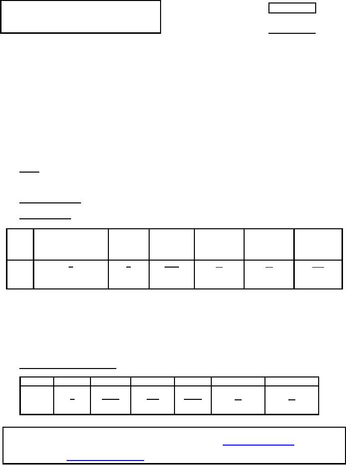
1.3 Maximum ratings. Unless otherwise specified, TA = +25°C.
IO (1)
ITSM (2)
VGM
TJ
TSTG
dv/dt (3)
Limits
TC = +105°C
(repetitive)
(180 degree conduction
angle)
°C
v/µs
°C
A
A
V(pk)
Min
-65
-65
5
Max
4.7
60
10
+150
+150
This average forward current is for a maximum case temperature of +105°C, and 180 electrical degrees of
(1)
conduction.
(2)
Surge rating is non-recurrent and applies only with device in the "on" conducting state. The peak rate of
surge current must not exceed 40 amperes/microsecond during the first 10 µs after switching from the "off"
(blocking) state to the "on" (conducting) state. This time is measured from the point where the thyristor
voltage has decayed to 90 percent of its initial blocking value.
TC = -65°C to +150°C.
(3)
1.4 Primary electrical characteristics.
Limits
VTM
IH
VGT
(1)
IGT (1)
toff (1)
ton
µs
µs
V
mA dc
V dc
mA dc
Min
0.2
Max
1.85
25
2.0
30
30
5
(1) TC = -65° to +150°C.
* Comments, suggestions, or questions on this document should be addressed to DLA Land and Maritime,
ATTN: VAC, P.O. Box 3990, Columbus, OH 43218-3990, or emailed to Semiconductor@dla.mil. Since contact
information can change, you may want to verify the currency of this address information using the ASSIST
Online database at https://assist.daps.dla.mil/.
AMSC N/A
FSC 5961
For Parts Inquires call Parts Hangar, Inc (727) 493-0744
© Copyright 2015 Integrated Publishing, Inc.
A Service Disabled Veteran Owned Small Business