
MIL-PRF-19500/177H
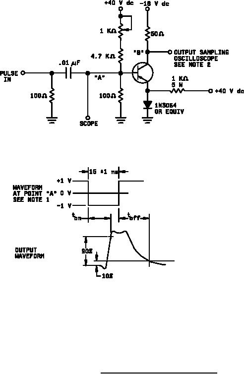
NOTES:
1. The rise time (tr) of the applied pulse shall be ≤ 2.0 ns, duty cycle ≤ 2 percent, and the generator source
shall be 50 Ω.
2. Sampling oscilloscope: Zin ≥ 100 kΩ, Cin ≤ 12 pF, rise time ≤ .5 ns.
FIGURE 2. Nonsaturated switching time test circuit.
9
For Parts Inquires call Parts Hangar, Inc (727) 493-0744
© Copyright 2015 Integrated Publishing, Inc.
A Service Disabled Veteran Owned Small Business