
MIL-PRF-19500/287G
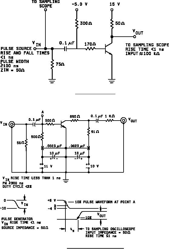
FIGURE 2. Ton and Toff test circuit.
FIGURE 3. Charge storage time test circuit.
12
For Parts Inquires call Parts Hangar, Inc (727) 493-0744
© Copyright 2015 Integrated Publishing, Inc.
A Service Disabled Veteran Owned Small Business