
MIL-PRF-19500/312E
NOTES:
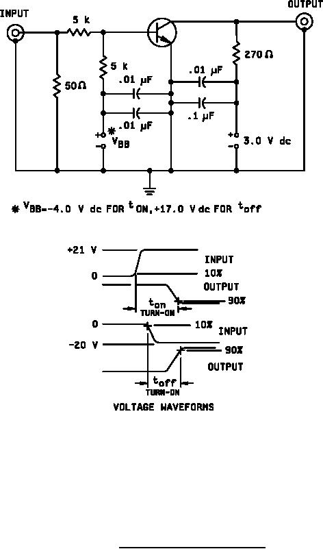
1. The input waveform is supplied by a pulse generator with the following characteristics: Zout = 50Ω, tr ≤ 1 ns,
PW ≥ 300 ns, duty cycle ≤ 2 percent.
2. Output waveforms are monitored on a sampling oscilloscope with the following characteristics:
Zin ≥ 100 kΩ, tr ≤ 1 ns.
FIGURE 4. Turn-on and turn-off time test circuit.
15
For Parts Inquires call Parts Hangar, Inc (727) 493-0744
© Copyright 2015 Integrated Publishing, Inc.
A Service Disabled Veteran Owned Small Business