
MIL-PRF-19500/402F
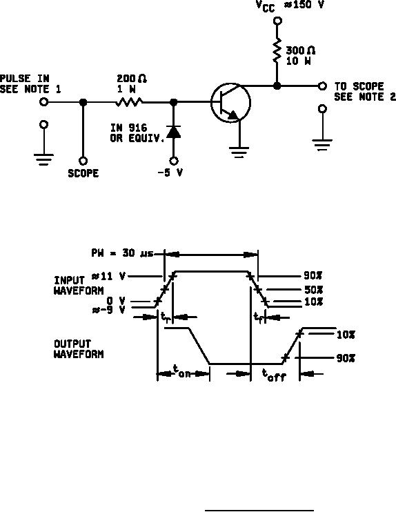
NOTES:
1. The rise time (tr) and fall time (tf) of the applied pulse shall be each 20 ns; duty cycle 1 percent; generator
source impedance shall be 50 ohms.
2. Output sampling oscilloscope: Zin 100 k; Cin 50 pF; rise time 2.0 ns.
FIGURE 3. Pulse response test circuit.
12
For Parts Inquires call Parts Hangar, Inc (727) 493-0744
© Copyright 2015 Integrated Publishing, Inc.
A Service Disabled Veteran Owned Small Business