
MIL-PRF-19500/453F
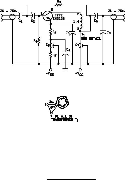
C1, C2, C3, C5: 0.002 µF.
: 330 Ω, 1W.
R3
C4: 0.03 µF.
: 200 Ω, 0.25 W.
R4
C6, C7: 1500 pF
T1
: 4 turns number 30 wire.
C8: 18 pF.
R1: 4.7 kΩ, 0.25 W.
Bifilar wound on "Indiana General".
R2: 6.8 Ω, 0.5 W.
Core number CF-102-Q1, or equivalent.
FIGURE 5. RF amplifier for voltage gain test.
15
For Parts Inquires call Parts Hangar, Inc (727) 493-0744
© Copyright 2015 Integrated Publishing, Inc.
A Service Disabled Veteran Owned Small Business