
MIL-PRF-19500/461F
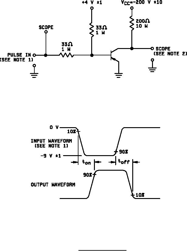
NOTES:
1. The rise time (tr) and fall time (tf) of the applied pulse shall be each ≤ 20 ns, duty cycle ≤ 2
percent, generator source impedance shall be 50 Ω; pulse width = 20 μs.
2. Output sampling oscilloscope: Zin ≥ 100 kΩ, Cin ≤ 50 pF, rise time ≤ 20 ns.
FIGURE 3. Pulse response test circuit.
12
For Parts Inquires call Parts Hangar, Inc (727) 493-0744
© Copyright 2015 Integrated Publishing, Inc.
A Service Disabled Veteran Owned Small Business