
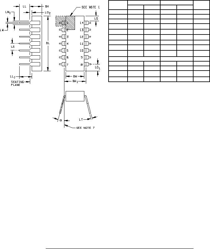
MIL-PRF-19500/474G
Inches
Millimeters
Symbol
Notes
Min
Max
Min
Max
BH
.200
5.08
BL
.785
19.94
4
BW
.220
.310
5.59
7.87
4
.290
.320
7.37
8.13
7
BW1
LL
.100
.200
2.54
5.08
.150
3.81
LL1
LO
.005
0.13
6
.098
2.49
6
LO1
.015
.060
0.38
1.52
3
LO2
LS
.100 BSC
2.54 BSC
5, 9
LT
.008
.015
0.20
0.38
8
LW
.014
.023
0.36
0.58
8
LW1
.020
.070
0.51
1.78
2, 8
α
0°
15°
0°
15°
NOTES:
1. Index area: A notch or a pin 1 identification mark shall be located adjacent to pin 1 and shall be within the
shaded area shown. The manufacturer's identification shall not be used as a pin 1 identification mark.
2. The minimum limit for dimension LW1 may be .023 inch (0.58 mm) for lead numbers 1, 7, 8, and 14 only.
3. Dimension LO2 shall be measured from the seating plane to the base plane.
4. This dimension allows for off-center lid, meniscus, and glass overrun.
5. The basic pin spacing is .100 inch (2.54 mm) between centerlines. Each pin centerline shall be located
within ±.010 inch (0.25 mm) of its exact longitudinal position relative to pins 1 and 14.
6. Applies to all four corners (lead numbers 1, 7, 8, and 14).
7. Lead center when α is 0 degrees. BW1 shall be measured at the centerline of the leads.
8. All leads: Dimensions are pre-solder dip. Pointed or round lead ends are allowed.
9. Twelve spaces.
10. Dimensions are in inches. Millimeters are given for general information only.
FIGURE 4. Physical dimensions for types 1N6506, 1N6507, 1N6508, 1N6509, and 1N6511.
6
For Parts Inquires call Parts Hangar, Inc (727) 493-0744
© Copyright 2015 Integrated Publishing, Inc.
A Service Disabled Veteran Owned Small Business