
MIL-PRF-19500/607B
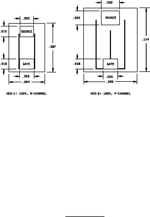
Inches
mm
.018
0.46
.019
0.48
.025
0.64
.026
0.67
.032
0.82
.064
1.63
.087
2.21
.095
2.41
.114
2.90
NOTES:
1. Dimensions are in inches.
2. Millimeters are given for general information only.
3. Unless otherwise specified, tolerance is ± .005 (0.13 mm).
4. The physical characteristics of the die thickness are .0187 (0.474 mm). The metals are chromium, nickel, and
silver. The top metal is aluminum and the back contact is the drain.
* 5. In accordance with ASME Y14.5M, diameters are equivalent to φx symbology.
FIGURE 2. JANHCA die dimensions.
4
For Parts Inquires call Parts Hangar, Inc (727) 493-0744
© Copyright 2015 Integrated Publishing, Inc.
A Service Disabled Veteran Owned Small Business