
MIL-PRF-19500/613E
NOTES:
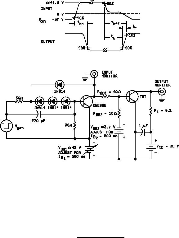
1. Vgen is -30 pulse (from 0 V) into a 50 ohm termination.
2. The Vgen waveform is supplied by a generator with the following characteristics: tr ≤ 15 ns, tf = 15
ns,ZOUT = 50 ohm, duty cycle ≤ 2 percent.
3. Waveforms are monitored on an oscilloscope with the following characteristics: tr ≤ 15 ns, RIN ≥ 10 MΩ,
CIN ≤ 11.5 pF.
3. Resistors shall be noninductive types.
4. The dc power supplies may require additional bypassing in order to minimize ringing.
FIGURE 2. Switching time test circuit.
14
For Parts Inquires call Parts Hangar, Inc (727) 493-0744
© Copyright 2015 Integrated Publishing, Inc.
A Service Disabled Veteran Owned Small Business