
MIL-PRF-19500/629C
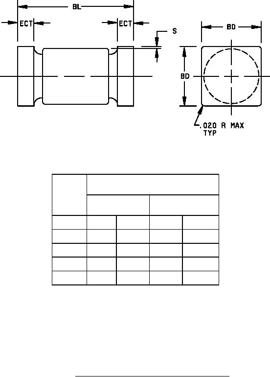
Symbol
Dimensions
Inches
Millimeters
Min
Max
Min
Max
BL
.205
.245
5.20
6.22
BD
.183
.202
4.65
5.13
ECT
.019
.028
0.48
0.71
S
.003
0.08
NOTES:
1. Dimensions are in inches.
2. Millimeters are given for general information only.
3. In accordance with ASME Y14.5M, diameters are equivalent to ∅X symbology.
FIGURE 2. Physical dimensions of surface mount family, (D-5C).
4
For Parts Inquires call Parts Hangar, Inc (727) 493-0744
© Copyright 2015 Integrated Publishing, Inc.
A Service Disabled Veteran Owned Small Business