
MIL-PRF-19500/413F
NOTES:
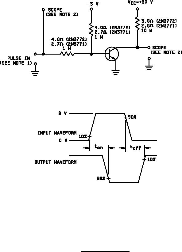
The rise time (tr) and fall time (tf) of the applied pulse shall be each ≤ 20 nanoseconds, duty cycle ≤ 2 percent,
1.
generator source impedance shall be 50Ω, pulse width = 20 μs.
Output sampling oscilloscope: Zin ≥ 100 kΩ, Cin ≤ 50 pF, rise time ≤ 2.0 nanoseconds.
2.
FIGURE 2. Pulse response test circuit.
13
For Parts Inquires call Parts Hangar, Inc (727) 493-0744
© Copyright 2015 Integrated Publishing, Inc.
A Service Disabled Veteran Owned Small Business