
MILPRF19500/472F
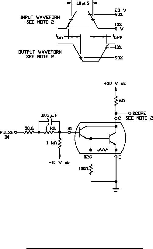
NOTES:
1. The input waveform is supplied by a pulse generator with the following characteristics:
tr ≤ 15 ns, tf ≤ 15 ns, ZOUT = 50 ohms, PW = 10 µs, duty cycle ≤ 2 percent.
2. Output waveforms are monitored on an oscilloscope with the following characteristics:
tr ≤ 15 ns, ZIN ≥ 10 MΩ, CIN ≤ 11.5 pf.
3. Resistors shall be non-inductive types.
4. The dc power supplies may require additional by-passing in order to minimize ringing.
FIGURE 4. Pulse response test circuit for device types 2N6350 and 2N6352.
16
For Parts Inquires call Parts Hangar, Inc (727) 493-0744
© Copyright 2015 Integrated Publishing, Inc.
A Service Disabled Veteran Owned Small Business