
MILPRF19500/472F
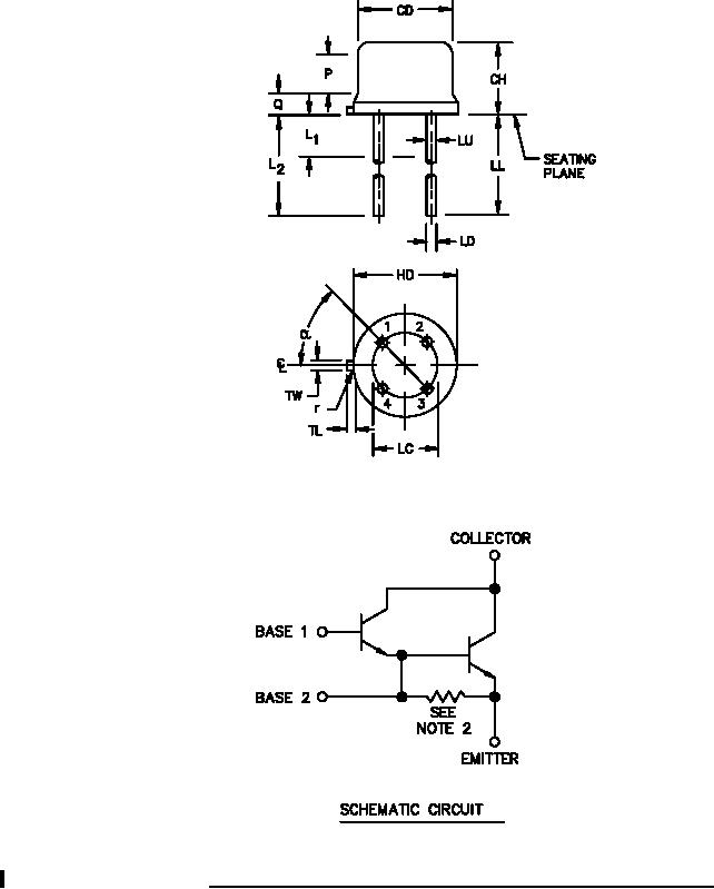
FIGURE 1. Physical dimensions (TO33) and schematic circuit for 2N6350 and 2N6351.
3
For Parts Inquires call Parts Hangar, Inc (727) 493-0744
© Copyright 2015 Integrated Publishing, Inc.
A Service Disabled Veteran Owned Small Business