
MILPRF19500/472F
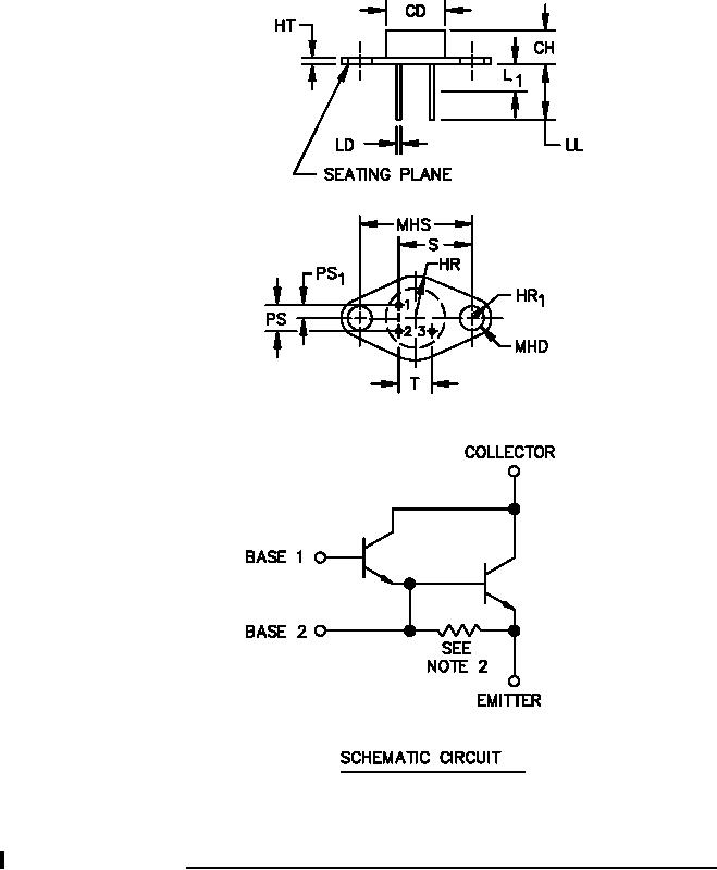
FIGURE 2. Physical dimensions (3-pin TO66) and schematic circuit for 2N6352 and 2N6353.
5
For Parts Inquires call Parts Hangar, Inc (727) 493-0744
© Copyright 2015 Integrated Publishing, Inc.
A Service Disabled Veteran Owned Small Business