
MIL-PRF-19500/488E
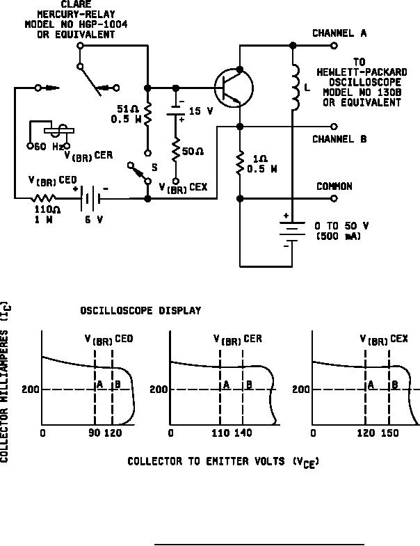
NOTE: V(BR)CEQ , V(BR)CER , V(BR)CEX , is acceptable when the trace falls to the right and above point "A" for type
2N5671. The trace shall fall to the right and above point "B" for type 2N5672.
FIGURE 3. V(BR)CEO , V(BR)CER , V(BR)CEX, measurement circuit.
13
For Parts Inquires call Parts Hangar, Inc (727) 493-0744
© Copyright 2015 Integrated Publishing, Inc.
A Service Disabled Veteran Owned Small Business